 |
После снятия тормозных колодок не нажимайте на педаль тормоза.
В противном случае поршень может быть выдавлен из корпуса.
|
8 Если у датчика износа протерта изоляция контактной пластины,
повреждена изоляция кабеля или изношен пластмассовый элемент, датчик
следует заменить.
 |
9 Очистите щеткой из легкого металла или протрите тряпкой,
смоченной в спирте, направляющую поверхность и посадочное
место для тормозных колодок. Не применяйте для этого растворителей,
содержащих минеральные масла, или инструмент с острыми кромками.
Если колодки будут снова применяться, их необходимо также
очистить.
|
10 Перед установкой тормозных колодок необходимо пальцами руки
проверить наличие задиров на тормозном диске. При наличии задиров
диски необходимо заменить.
11 Измерьте толщину тормозных дисков, обратитесь к Разделу Измерение
толщины тормозного диска.
 |
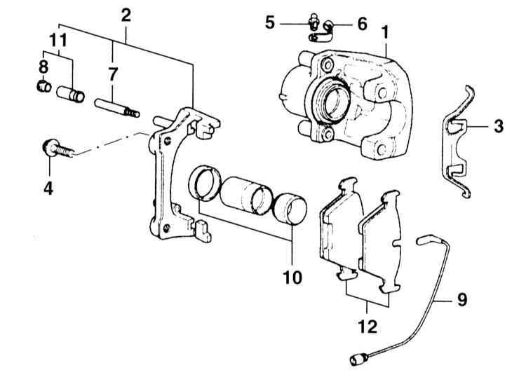
12 Проверьте пылезащитный колпачок -2- на наличие трещин.
При наличии повреждений колпачок необходимо немедленно заменить,
так как проникшие загрязнения быстро приводят к потере герметичности
суппорта. Для этого необходимо снять суппорт и разобрать (работа
СТО).
|
13 Вдавите поршень с помощью соответствующего приспособления. Это
можно сделать бруском из твердой древесины (рукояткой молотка).
При этом обращайте особое внимание на то, чтобы поршень не перекашивался
и поверхность поршня, а также пылезащитный колпачок не были повреждены.
 |
При вдавливании поршней из тормозных цилиндров в резервуаре
тормозной жидкости поднимается уровень. Следите за уровнем,
при необходимости отсосите жидкость.
Для отсасывания тормозной жидкости следует применять специальную
или пластмассовую бутылку, которая предназначена только для
этой цели! Не применяйте для этого бутылок для питьевой воды!
Тормозная жидкость ядовита и ее нельзя ни в коем случае отсасывать
ртом через шланг. Применяйте для этого специальный прибор.
После замены тормозных колодок уровень жидкости в резервуаре
не должен быть выше отметки МАХ, так как при нагревании жидкость
расширяется. Вытекающая тормозная жидкость течет вниз по главному
тормозному цилиндру, повреждает лакокрасочное покрытие и приводит
к коррозии.
При большом износе тормозных колодок следует проверить легкость
хода поршня. Для этого вставьте деревянный брусок в суппорт
и попросите ассистента медленно нажать на педаль тормоза.
Тормозной поршень должен легко входить и выходить. Для проведения
проверки должны быть вставлены на свои места все другие суппорты.
Следите за тем, чтобы поршень полностью не вышел. Если ход
поршня тяжелый, суппорт подлежит ремонту (работа СТО).
Прилегающие поверхности суппорта покройте пастой против визга
тормозов.
Для исключения визга дисковых тормозов в процессе эксплуатации
некоторые места суппорта необходимо покрыть тонким слоем специальной
пасты, например, “Never Seez Compound”.
Паста ни в коем случае не должна попадать на пылезащитные
манжеты, поверхности трения тормозных колодок или тормозного
диска. При необходимости пасту сразу же протрите спиртом,
пылезащитную манжету замените на новую. Подкладную пластину
тормозной колодки пастой не покрывайте.
|
14 Смажьте тонким слоем пасты против визга прилегающую поверхность
тормозного поршня к тормозной колодке.
 |
15 Очистите прилегающие поверхности -1- и -2- Т-образных
головок тормозной колодки у суппорта и покройте тонким слоем
пасты против визга тормозов.
|
 |
16 Очистите прилегающую поверхность -3- суппорта и покройте
тонким слоем пасты против визга тормозов в местах, заштрихованных
на иллюстрации.
|
 |
17 Очистите скобу у направляющих Т-образных головок (стрелки
на иллюстрации) и нанесите тонкий слой пасты против визга
тормозов в местах, заштрихованных на иллюстрации.
|
 |
18 Вставьте тормозную головку с пружиной в поршень.
|
 |
19 Вставьте в суппорт наружную колодку -9- и поставьте суппорт
на направляющую. Следите за тем, чтобы колодки были очищены.
|
 |
20 Проверьте визуально два болта крепления суппорта, при
необходимости очистите скобу от загрязнений. Если необходимо,
пройдите резьбу в скобе метчиком. Болты, имеющие ржавчину
или повреждения резьбы, замените. Закрепите болты -7- торцевым
ключом -8- на 7 мм моментом 30 Н•м.
 |
Болты только очистите, смазывать их не надо.
|
|
21 Поставьте на место защитные колпачки болтов крепления.
22 Состыкуйте разъем датчика износа на правой стороне автомобиля.
Провод должен проходить в петле крышки штуцера для удаления воздуха.
 |
23 Установите стопорную пружину суппорта.
|
24 Установите задние колеса и вверните болты крепления. Болты
не смазывайте. Колеса установите так, чтобы совпали маркировки,
нанесенные при снятии. Опустите автомобиль на колеса и затяните
болты моментом 100 Н•м.
 |
Несколько раз сильно нажмите на педаль тормоза в положении
стоя так, чтобы ощущалось сопротивление. Таким образом, тормозные
колодки займут свое рабочее положение.
|
25 Проверьте уровень жидкости в резервуаре. При необходимости долейте
до отметки MAX.
 |
— Закреплены ли тормозные шланги?
— Закреплен ли тормозной шланг в держателе?
— Затянуты ли штуцеры для удаления воздуха?
— Залито ли достаточное количество тормозной жидкости?
— На работающем двигателе проверьте герметичность. Для этого
нажмите тормозную педаль усилием 200 – 300 Н (20 – 30 кг)
в течение 10 с. Педаль не должна ослабевать. Проверьте все
присоединения на герметичность.
|
26 Осторожно дайте приработаться новым тормозным колодкам. Для
этого несколько раз затормозите автомобиль со скорости 80 до 40
км/час слегка нажимая на педаль. Между торможениями дайте охладиться
тормозу.
 |
После установки новых тормозных колодок их необходимо приработать.
Во время движения первые 200 км необходимо избегать сильных
ненужных торможений.
Тормозные диски в некоторых регионах должны утилизироваться
как специальный материл. Местные органы власти информируют
водителей о местах возможной утилизации.
|
|