 |
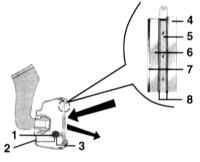
Электронный блок управления -1- через фотодатчики (2/3) регистрирует падающий на зеркало свет спереди и сзади. Если поток света сзади сильнее, чем спереди, к токопроводящему покрытию -8- прикладывается напряжение. Покрытие находится между стеклами (4/6) зеркала. |