поиск в избранное   контакты
  BMW РЕМОНТ ОБСЛУЖИВАНИЕ ЭКСПЛУАТАЦИЯ
BMW 5-ая серия E39 (с 1996 по 2001 год выпуска)

полные технические характеристики. диагностика. электросхемы
 
Главная
 
BMW
5-ая серия E39
1. Введение
2. Инструкция по эксплуатации
3. Текущий уход и обслуживание
4. Двигатель
5. Системы охлаждения, отопления
6. Системы питания и выпуска
7. Электрооборудование двигателя
7.1. Система зажигания
7.1.1. Меры безопасности при работе с системой зажигания
7.1.2. Снятие и установка катушки зажигания
7.1.3. Снятие и установка датчика детонации
7.1.4. Проверка и замена датчика импульсов
7.1.5. Снятие и установка штекера свечи зажигания
7.1.6. Снятие и установка блока управления DME
7.1.7. Свечи зажигания
7.2. Система преднакала дизельного двигателя
7.3. Системы заряда и запуска
8. Ручная коробка передач
9. Автоматическая трансмиссия
10. Сцепление и приводные валы
11. Тормозная система
12. Подвеска и рулевое управление
13. Кузов
14. Бортовое электрооборудование
15. Схемы электрооборудования
16. Система бортовой диагностики
 







//-->
версия для печати

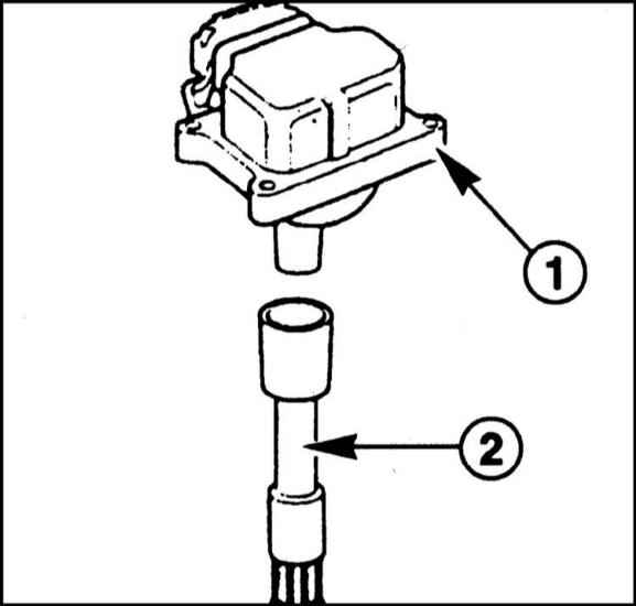
7.1.5. Снятие и установка штекера свечи зажигания

 СНЯТИЕ

1. Снимите катушку зажигания, обратитесь к Разделу Снятие и установка катушки зажигания.

2. Отсоедините штекер свечи зажигания (2) от катушки (1). Обратитесь к сопроводительной иллюстрации.


 УСТАНОВКА

1. Наденьте штекер свечи на катушку зажигания.
2. Установите катушку зажигания, обратитесь к Разделу Снятие и установка катушки зажигания.


 


« предыдущая страница
7.1.4. Проверка и замена датчика импульсов
следующая страница »
7.1.6. Снятие и установка блока управления DME


//-->

Copyright © 2007-2009 Все права защищены. Все торговые марки являются собственностью их владельцев.

Hosted by uCoz