|
При замене чехлов пользуйтесь ремонтным комплектом. У автомобилей
с большим пробегом рекомендуется также заменять второй защитный
чехол.
12 Тщательно очистите шарнир в собранном состоянии.
 |
13 Наденьте новые чехлы. При этом закройте острые кромки
приводного вала соответствующей втулкой или заклейте лентой,
чтобы не повредить чехлы при надевании.
|
14 Заполните шарнир новой специальной смазкой.
 |
Смазка находится в ремонтном комплекте “Защитный чехол”.
|
15 Поставьте внутренний шарнир на приводной вал.
 |
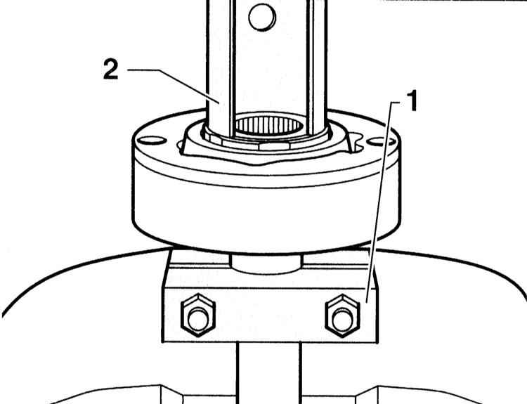
16 Установите с зажимным приспособлением -1- в тисках.
|
17 Напрессуйте шарнир до упора с помощью соответствующей трубы
-2-.
18 Снимите зажимное приспособление.
19 Поставьте новое стопорное кольцо с помощью щипцов, следя за его
правильным положением в пазу.
20 Заполните наружный и внутренний шарниры и защитные чехлы специальной
смазкой объемом 80 г. Следите за тем, чтобы в шарниры не попала
грязь.
21 Смажьте тонким слоем герметика “Curil T” или “Stucarit Dicht-Gel
309/4” уплотнительные поверхности запорной крышки. Установите крышку.
22 Смажьте тонким слоем герметика “Curil T” или “Stucarit Dicht-Gel
309/4” уплотнительные поверхности крышки чехлов. Установите крышку.
 |
23 Закрепите чехол на крышке с помощью хомута и щипцов, например,
HAZET 1847-1. Следите за тем, чтобы замок большого хомута
лежал между двумя отверстиями шарнира.
|
24 Наденьте чехол наружного шарнира и закрепите его на большом
диаметре.
25 Натяните чехлы через утолщение на приводных валах и закрепите
хомутами.
26 Установите на место приводные валы.
|