поиск в избранное   контакты
  BMW РЕМОНТ ОБСЛУЖИВАНИЕ ЭКСПЛУАТАЦИЯ
BMW 5-ая серия E39 (с 1996 по 2001 год выпуска)

полные технические характеристики. диагностика. электросхемы
 
Главная
 
BMW
5-ая серия E39
1. Введение
2. Инструкция по эксплуатации
3. Текущий уход и обслуживание
4. Двигатель
5. Системы охлаждения, отопления
6. Системы питания и выпуска
7. Электрооборудование двигателя
8. Ручная коробка передач
9. Автоматическая трансмиссия
10. Сцепление и приводные валы
11. Тормозная система
12. Подвеска и рулевое управление
13. Кузов
14. Бортовое электрооборудование
14.1. Диагностика неисправностей бортового электрооборудования - общая информация
14.2. Предохранители
14.3. Плавкие вставки
14.4. Прерыватели цепи (тепловые реле)
14.5. Реле
14.6. Проверка реле
14.7. Проверка ламп накаливания
14.8. Проверка электродвигателей
14.9. Проверка электрических выключателей
14.10. Проверка выключателей ламп и электродвигателей
14.11. Проверка датчиков
14.12. Проверка электродвигателя стеклоочистителя
14.13. Проверка стоп-сигнала
14.14. Проверка обогревателя заднего стекла
14.15. Снятие и установка выключателя
14.16. Снятие и установка датчика температуры
14.17. Снятие, установка и проверка звукового сигнала
14.18. Инициализация дистанционного управления единым замком
14.19. Регулировка дальности света фар
14.20. Снятие и установка электродвигателя регулировки дальности света
14.21. Замена предохранителей
14.22. Расположение предохранителей
14.23. Приборы освещения
14.24. Замена ламп накаливания
14.25. Снятие и установка фары
14.26. Регулировка фар
14.27. Снятие и установка заднего фонаря
14.28. Приборы управления
14.29. Снятие и установка блока панели приборов
14.30. Замена ламп блока панели приборов
14.31. Снятие и установка выключателя сигналов поворота / стеклоочистителя
14.32. Снятие и установка радиоприемника
14.33. Стеклоочиститель
14.34. Замена щеток стеклоочистителя
14.35. Снятие, установка и регулировка сопел стеклоомывателя
14.36. Снятие и установка привода стеклоочистителя / крышки
14.37. Снятие и установка электродвигателя стеклоочистителя
14.38. Проверка и замена насоса стеклоомывателя
14.39. Работа с электрическими схемами
15. Схемы электрооборудования
16. Система бортовой диагностики
 







//-->
версия для печати

14.38. Проверка и замена насоса стеклоомывателя

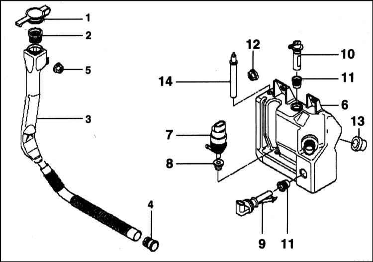
Стеклоомыватель

1 — крышка заливного патрубка
2 — сетка
3 — канал подачи
4 — втулка резервуара
5 — пластмассовая гайка
6 — резервуар
7 — насос

8 — уплотнение
9 — датчик уровня
10 — кран
11 — резиновая втулка
12 — пластмассовая гайка
13 — втулка
14 — датчик уровня


Проверьте электродвигатель стеклоомывателя, обратитесь к Разделу Проверка электродвигателей.


 СНЯТИЕ

1. Расстыкуйте штекерное соединение.
2. Слейте жидкость из резервуара стеклоомывателя.
3. Выньте насос из резервуара.
4. Отсоедините шланг.


 УСТАНОВКА

1. Наденьте шланг на новый насос.
2. Установите новый насос.
3. Состыкуйте штекерное соединение.
4. Проверьте работоспособность насоса.



« предыдущая страница
14.37. Снятие и установка электродвигателя стеклоочистителя
следующая страница »
14.39. Работа с электрическими схемами


//-->

Copyright © 2007-2009 Все права защищены. Все торговые марки являются собственностью их владельцев.

Hosted by uCoz