| 6 Состыкуйте разъем потребителей и зафиксируйте его. Вдавите штекер в стойку двери, затяните болты крепления рамки моментом 5 Н•м.
7 Вставьте дверь в петли сверху и снизу с помощью ассистента. Дверь направляется осью -3-. С помощью шайб, подкладываемых в петлю снизу, дверь при необходимости может быть отрегулирована заново. При установке той же самой двери регулировка, как правило, не требуется.
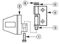
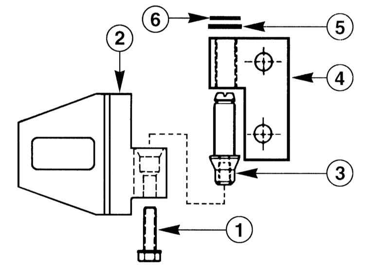
8 Вверните в каждую петлю по болту -1-.
9 Закрепите на стойке А ограничитель двери.
10 Закройте дверь и проверьте, равномерный ли зазор между дверью и кузовом. При необходимости отверните болты у петель и отрегулируйте дверь верхними болтами по высоте.
 |
При установке новой под петли подкладываются дистанционные шайбы, чтобы сместить дверь наружу или внутрь
Дверь регулируется только в комплекте с относящимися к ней элементами, такими как стеклоподъемниками, стеклами и т. п., так как положение двери зависит от ее веса. При регулировке уплотнения двери необходимо снять. Если снимались передняя и задняя дверь, сначала необходимо выставить заднюю дверь, а затем переднюю.
|
 |
11 Ослабьте отверткой Torx винт -1- крепления скобы замка на стойке В двери и ослабьте винт -2- так, чтобы скоба могла перемещаться. Внимание: Регулировку глубины -3- менять не следует.
|
 |
Если необходимо снять скобу, имейте в виду следующее. Вместо верхнего винта вверните шпильку, чтобы резьбовая планка не упала в стойку двери. Затем отверните нижний винт и снимите скобу.
|
12 Откройте ручку двери и держите ее. Закройте дверь. Таким образом, устанавливаются высота -4- и наклон скобы замка.
13 Осторожно откройте дверь и затяните винты моментом 20 Н•м.
 |
Дверь с передней стороны может уходить внутрь не более чем на 1 мм и с задней стороны выступать не более чем на 1мм. Изношенную скобу замка необходимо предварительно заменить.
|
|